您当前的位置:首页 >>产品知识
点击次数:2298 更新时间:2020-11-12
塑料多面空心球填料如何进行输送?因多面空心球的形状是球状的,通过吹气输送处理,效率如何?众多工厂原先对空心球采取输送方式,由于输送过程中的再次输送效率低,现基本都采用新型的输送方式,现江西凯莱化工为您介绍多面空心球的输送方式。
先来认识下产品的形状,它是由两个半球合成一个球形,每个半球由8-12个半扇形叶片组成,上下叶片相互错开排列,相比其他球形填料的比表面积更大。

经过众多工程师的实践实验,发明了一种新型的输送装置,它可以提供一种通过吹气管,对多面空心球提供前进的动力,通过传输带对空心球进行输送,通过吹气头可以对空心球进行再次吹送,从而大大增加对塑料多面空心球的输送效率。
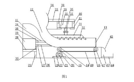
和江西凯莱化工来了解下这个新型的装置吧,它是一种包括输送座、输送座上设有输送槽,输送座的端部设有出口,出口与输送槽连通,并在输送座内设有主动轮,主动论通过安装轴,安装在输送座内,并在输送座内设有从动轮,从动轮通过安装从动轮轴安装在输送座内;主动轮与从动轮通过传输带连接,并在输送座的内装固定座,在固定座上装驱动电机,装上驱动轴。驱动轴与驱动电机连接,并设置三根吹气管道,第1吹气机与输送槽通过第1吹气管道连接,第1吹气管道设有第1控制泵,第1吹气机与输送槽通过第二吹气管道,第二吹气管道与输送槽连通,第二吹气管道上设有第二控制泵,输送座的端部上设有吹气壳,吹气壳的下部设有若干吹气头,吹气头设置在输送槽内顶部。示意图如下:
这种输送装置是通过输送槽接收开模制备下来的塑料多面空心球,通过第1吹气管道与第二吹气管道可以给吹气壳提供气源,吹气壳通过吹气头可以吹出气源;通过两根管道对塑料多面空心球提供前进的动力。可以通过吹气头对空心球再次吹送,从而增加输送效率。
塑料多面空心球被广泛用于污水处理、发电厂脱CO2、脱硫、及净水塔内填料。是水处理设备中,应用较广的一种新型效率塔器填料。经各地电力、造纸、化工、环境保护等行业,在脱碳、油水分离、海水淡化、纯水、废水处理、脱碳酸等装置中使用。
上一条: 影响PP多面空心球填料性能的因素
下一条:活性氧化铝再生方法及注意事项